(一)出生缺陷项目:
为进一步加强出生缺陷综合防治,2025年我会继续在全国范围实施中央专项彩票公益金支持出生缺陷干预救助项目。项目为患有遗传代谢病、先天性结构畸形和功能性出生缺陷三类出生缺陷疾病的经济困难家庭患儿提供医疗费用补助,减轻患儿家庭医疗负担。申请通道已开启!
一、救助对象及病种
申请救助的患儿需同时满足下列条件:
1、临床诊断患有遗传代谢病、先天性结构畸形、功能性出生缺陷疾病。具体救助病种可在“出生缺陷干预救助”微信小程序查询服务查看;
2、年龄18周岁(含)以下;
3、家庭生活负担重,能够提供低保证、低收入证明、特困证明或村(居)委会等开具的家庭经济情况说明原件(格式见微信小程序或基金会官网下载专区);
4、在实施机构接受诊断、治疗、手术和康复;
5、医疗费用自付部分超过3000元(含)。
二、救助类别及标准
医疗费用补助范围包括药费、床位费、诊察费、检查费、放射费、检验费、治疗费(含医疗机构开具的遗传代谢病特殊治疗食品)、康复费、手术费、输血费、护理费、材料费、输氧费等。依据救助病种的不同,救助项目包括遗传代谢病救助、先天性结构畸形救助、功能性出生缺陷救助三类。各类救助标准如下:
1、遗传代谢病救助标准
每名患儿可申请2次救助。首次申请自患儿申请救助日前两个年度1月1日(含)起至申请救助日(含)止,在此期间发生的自付医疗费用。第二次申请自患儿首次申请救助日起至第二次申请救助日(含)止,在此期间发生的自付医疗费用,需重新提交申请资料和按序排队。
根据患儿医疗费用报销之后的自付部分,给予3000元-10000元补助。每名患儿具体救助标准如下:
(1)自付部分大于3000元(含)的,小于5000元的,医疗费用补助额度为3000元。
(2)自付部分大于5000元(含)的,小于7000元的,医疗费用补助额度为5000元。
(3)自付部分大于7000元(含)的,小于10000元的,医疗费用补助额度为7000元。
(4)自付部分大于10000元(含)的,医疗费用补助额度为10000元。

2、先天性结构畸形救助标准
对同一患儿同一疾病分次申请救助的,或同一患儿不同疾病分别申请救助的,只救助一次。对患儿申请救助日期的上一年度1月1日(含)起至申请救助日(含)止,在实施机构产生的医疗费用给予补助。
根据患儿医疗费用报销之后的自付部分,一次性给予3000元-30000元补助。每名患儿具体救助标准如下:
(1)自付部分大于3000元(含)的,小于5000元的,医疗费用补助额度为3000元。
(2)自付部分大于5000元(含)的,小于7000元的,医疗费用补助额度为5000元。
(3)自付部分大于7000元(含)的,小于10000元的,医疗费用补助额度为7000元。
(4)自付部分大于10000元(含)的,小于15000元的,医疗费用补助额度为10000元。
(5)自付部分大于15000元(含)的,小于20000元的,医疗费用补助额度为15000元。
(6)自付部分大于20000元(含)的,小于25000元的,医疗费用补助额度为20000元。
(7)自付部分大于25000元(含)的,小于30000元的,医疗费用补助额度为25000元。
(8)自付部分大于30000元(含)的,医疗费用补助额度为30000元。

3、功能性出生缺陷救助标准
2021-2025年每名患儿最多可申请4次救助。首次申请自患儿申请救助日前两个年度1月1日(含)起至此次申请救助日(含)止,在此期间发生的自付医疗费用。后三次申请自患儿上一次申请救助日起至此次申请救助日(含)止,在此期间发生的自付医疗费用,需重新提交申请资料和按序排队。
根据患儿医疗费用报销之后的自付部分,按照3000元、5000元两档标准予以补助。每名患儿具体救助标准如下:
(1)自付部分大于3000元(含)的,小于5000元的,医疗费用补助额度为3000元。
(2)自付部分大于5000元(含)的,医疗费用补助额度为5000元。
针对功能性出生缺陷救助中地中海贫血患儿医疗费用报销之后的自付部分超过10000元的,一次可连续申请多次救助,补助金额最高不超过20000元。

三、提交资料
患儿法定监护人提出救助申请。申请救助的患儿法定监护人登录“出生缺陷干预救助”微信小程序,按要求填写个人信息、绑定手机号完成注册,签署知情同意书和个人承诺书;选择救助类别,在线填写《出生缺陷救助项目个人申请表》,并上传身份证明材料、疾病和治疗证明材料、家庭经济情况证明材料原件扫描图片(或纸质版照片);将《申请表》提交实施机构,完成线上救助申请。

患儿法定监护人因特殊原因无法在微信小程序进行网上申请的,可前往实施机构,按要求到现场提交申请材料。
(1)身份证明材料。患儿或其法定监护人身份证或其他有效身份证件,以及证明监护关系的户口簿、出生医学证明或其他证明材料。
(2)疾病和治疗证明材料。符合项目救助病种的诊断证明。实施机构出具的相关医学影像资料报告单或必要的医学检查报告(例如:基因检测、串联质谱检测报告、血液检验、影像报告等),住院首页、手术记录、出入院记录(如有住院治疗,请根据治疗情况提供)。
(3)家庭经济情况证明材料。低保证、低收入证明、特困证明材料(任选其一),或村(居)委会等出具的家庭经济情况说明材料原件。

患儿法定监护人应保证所提交资料的真实、准确和完整。若查实存在虚假、伪造、隐瞒等行为,基金会将不予救助,并终身不得申请项目资助;如已获救助,基金会保留依法追索救助金的权利;若查实存在弄虚作假、虚报冒领救助资金等行为,患儿法定监护人应根据情节依法承担相应责任。

(二)院内基金申请:
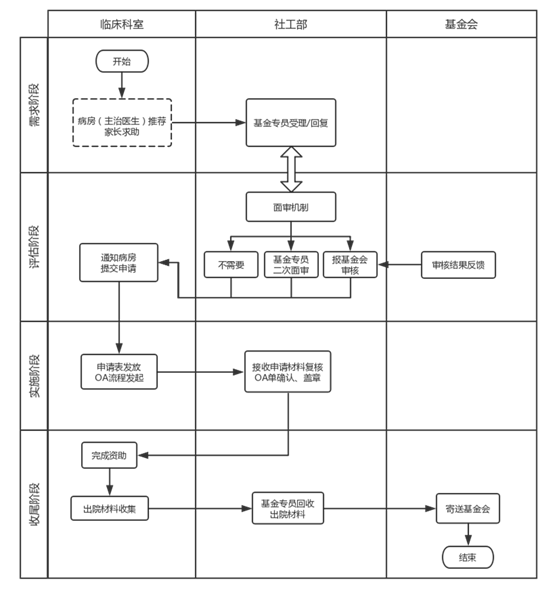
① 基金申请流程图:

② 家庭经济困难证明模板:
(三)外部基金对接:
(四)救助故事:
1、【救助故事 21】光明于眸,西畴之行
2、【慈善故事20】脊髓性肌萎缩症(SMA)困境儿童救助工作侧记
3、【救助故事19】这次,他终于能“挺直”脊梁了
4、【救助故事 18】姑娘,愿你一路繁花似锦,未来可期!
5、【救助故事 17】小宝,你好!小宝,加油!
6、【慈善故事16】仁爱恒久 点亮光明
7、【慈善故事15】万人公益心,成就“梦想医学院”!
8、【慈善故事14】志愿者加油站!
9、【慈善故事13】世界之大,惟爱繁茂!
10、【慈善故事12】精神如灯,传承无声!
11、【慈善故事11】慈善跑,为白血病孩子助跑!
12、【慈善故事10】助力康复,不抛弃不放弃!----起始于孕妈妈高危儿早期康复干预课堂
13、【慈善故事9】仁爱恒心,助跑孩子奔向光明!
14、【慈善故事8】温暖过程亦是大爱!
15、【慈善故事7】授人以鱼治病,授人以渔救心!
16、【慈善故事6】“人”字的结构就是相互支撑
17、【慈善故事5】心手相连,无影灯下的民建公益
18、【慈善故事4】“玖久”救助, “肠”久呵护
19、【慈善故事3】“爱传递,恒久远”
20、【慈善故事2】“向善之心,心生如新”
